Ротаметры LZS
LZS Ротаметры
Ротаметры LZS предназначены для контроля расхода воды илиагрессивных жидкостей (жидких сред)(кислот, щелочей, гипохлорита натрия и т.д.) в широком диапазоне измерения расхода при температуре среды до +60°С и относятся к группе поплавковых расходомеров постоянного перепада давления с местными показаниями.
Геометрические размеры ротаметров LZS

| Модель |
Размеры (мм) |
| Длинная трубка «C» |
Короткая трубка «D» |
| L |
D1 |
D2 |
D3 |
L |
D1 |
D2 |
D3 |
| LZS-15 |
280 |
20 |
26 |
45 |
202 |
20 |
26 |
45 |
| LZS-25 |
380 |
32 |
39 |
68 |
226 |
32 |
39 |
60 |
| LZS-32 |
|
|
|
|
288 |
40 |
49,5 |
74 |
| LZS-40 |
430 |
50 |
63 |
88 |
|
|
|
|
| LZS-50 |
430 |
63 |
73 |
98 |
341 |
63 |
73 |
98 |
| LZS-65 |
|
|
|
|
430 |
75 |
88 |
122 |
| LZS-100 |
550 |
17 |
175 |
|
510 |
18 |
180 |
|
| LZS-125 |
550 |
17 |
205 |
|
510 |
18 |
210 |
|
| LZS-150 |
560 |
21 |
240 |
|
510 |
22 |
240 |
|

| Модель |
L |
D |
Клеевое
соединение |
Наружная
резьба |
Внутренняя
резьба |
Сварка PPR |
| L1 |
B1 |
B2 |
L2 |
M |
L3 |
E |
L1 |
D |
B1 |
| LZS-15E |
173 |
51 |
223 |
20 |
26 |
— |
— |
219 |
G1/2” |
220 |
45 |
24 |
| LZS-25E |
172 |
59 |
232 |
32 |
39 |
— |
— |
227 |
G3/4” |
221 |
51 |
31 |
| LZS-32E |
225 |
74 |
290 |
40 |
49 |
320 |
G1” |
285 |
G1” |
280 |
74 |
39 |
| LZS-50E |
290 |
98 |
375 |
63 |
73 |
376 |
G2” |
— |
— |
|
— |
— |
| LZS-65E |
325 |
124 |
420 |
75 |
87 |
— |
— |
— |
— |
— |
— |
— |
| Модель |
Размеры (мм) |
| L |
D1 |
D2 |
D3 |
| LZS-15EC |
280 |
20 |
26 |
45 |
| LZS-25EC |
380 |
32 |
39 |
68 |

| Модель |
фланец (мм)
стандарт фланца — Китай
GB/T9119-2000 10kg |
| L4 |
D1 |
D2 |
D3 |
| LZS-50ES |
434 |
18 |
125 |
165 |
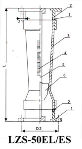
| Устройство ротаметров LZS-EP |
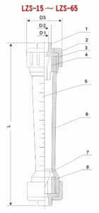
Устройство ротаметров LZS-EC |
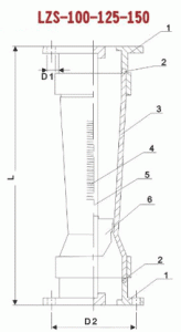
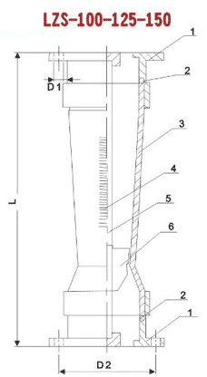
Устройство ротаметров LZS-50ES |
1 Фитинг
2 Уплотнительное кольцо
3 Гайка накидная
4 Направляющий стержень
5 Корпус
6 Поплавок
7 Ограничитель |
1 Фитинг
2 Гайка накидная
3 Уплотнительное кольцо
4 Ограничитель
5 Шкала
6 Корпус
7 Поплавок |
1 Фланец
2 Уплотнительное кольцо
3 Корпус
4 Шакала
5 Направляющий стержень
6 Поплавок |